Email:

Request in messenger:

Phone number and open hours:
+7 (812) 207-52-94
Mon-Sun 7am – 8pm
Call to order:
8 (800) 511-59-77
Selected city:
St. Petersburg
Mitrofanevskoe Highway, 8AB
  • Надежные бренды и подтвержденные стандарты качества:
Call to order: 8 (800) 511-59-77

360 kW diesel generator for Orica corporation for the production of explosives in Yakutia

Total capacity 360 kW
Client Orica CIS CJSC
Фото
Task

Manufacturing and delivering a containerized DG with auxiliary equipment for prolonged autonomous operation of the generator

Solution

Manufacturing and delivering a containerized DG with auxiliary equipment for prolonged autonomous operation of the generator

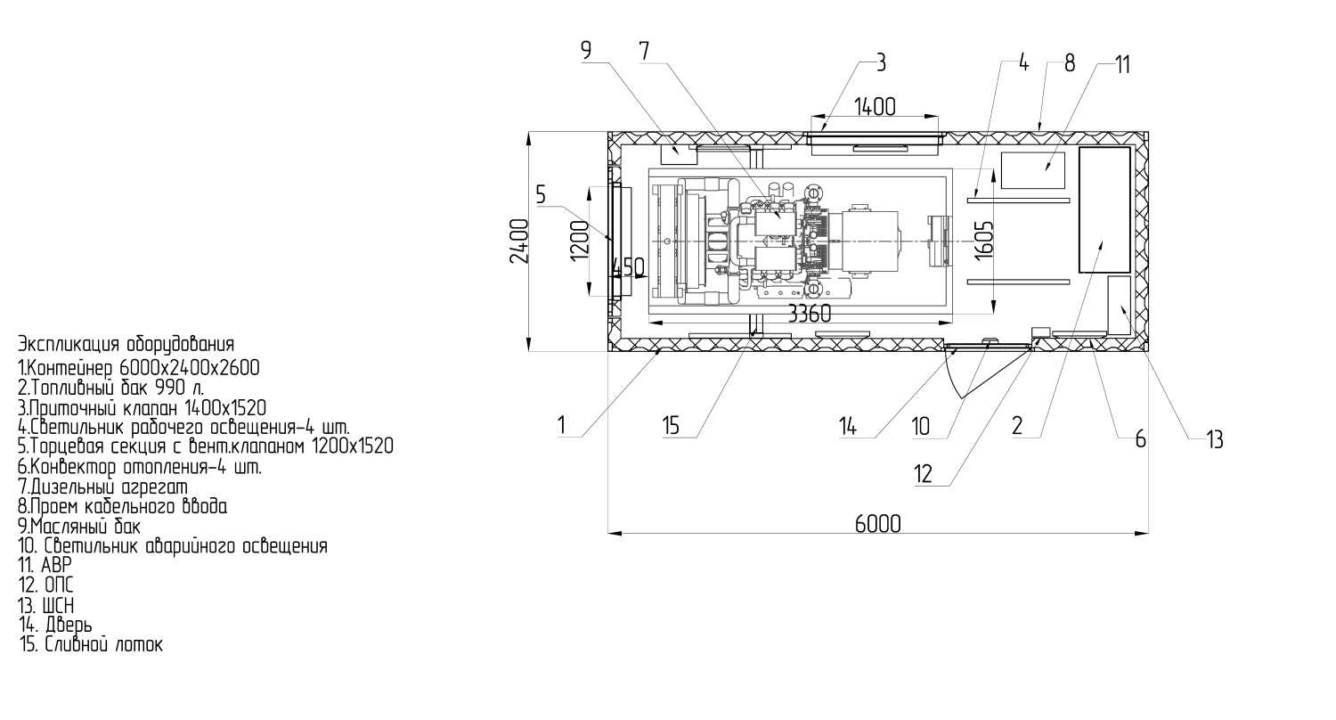
In July 2018, Techexpo company delivered an own-produced 360 kW TE.360S-T400-2RN containerized diesel genset for Orica transnational corporation. This is the world’s biggest manufacturer of explosives with operations in more than 50 countries. The company’s headquarters are located in Melbourne (Australia).

The generator is designed as a standby power supply to produce non-explosive components of emulsified explosives in the quantity, which does not provide for the feasibility of building capital facilities, the company developed a mobile version of a plant to meet the client’s requirements.

The plant is a set of several production modules housed inside standard 20 or 40 HQ containers. The containers are placed on the site according to the approved production scheme and allow organizing the production of non-explosive components of emulsified explosives in the field.

To meet production needs for electrical power to power production equipment, administrative and auxiliary buildings, as well as lighting an industrial site, it is proposed to use a diesel generator set located in a standard 20 ft container.

The DG is manufactured based on a Korean Doosan engine and a Mecc Alte generator (Italy).

The equipment was manufactured in strict adherence to the specification. A Sever-type container features non-inflammable heat insulation and is designed to operate in the ambient temperature range from – 50 to +45°C. The container design ensures the absence of frost on internal surfaces with the door closed and the container heating system running.

There is an ATS panel inside the container, an extra fuel tank, a tank with an automatic fuel pumping system into the main DG tank and an emergency fuel drain (tank volume: 990 liters), a 50-liter oil tank with an automatic oil pumping system, additional convectors. The floor of the container ensures that liquids drain into special trays. Pallets are made for fuel tanks considering their capacity + 10%

The engineers of Techexpo together with technical specialists of Orica company successfully carried out acceptance delivery tests of the equipment on load.


Order the budget estimation for a similar project - make a request to

We’ll send an engineer to your site for free pre-project inspection, select equipment, develop the budget.

Next project

Форма заявки